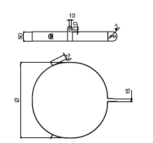
Ø80 mm Fastgøring til wire
Ø80 mm Fastgøring til wire
Normalpris
527,50 DKK
Normalpris
Udsalgspris
527,50 DKK
Stykpris
pr.
Inklusive skat.
Levering beregnes ved betaling.
Tilgængelighed for afhentning kunne ikke indlæses
Fastgøring af skorsten til wire i ulakeret rustfrit stål
En skorsten med en fritstående højde på 1,5 meter over taget, skal stabiliseres og sikres - dertil anvendes bardunsæt. Dette gøres for at skorstenen står fuldstændig stabilt og sikkert,- også i kraftigt blæsevejr.
Producent
Ecoteck Apros
